相关产品推荐更多 >>
一体型管道污水流量计在热钾碱溶液测量中的安装与使用
点击次数:3461 发布时间:2021-08-27 01:36:20
盐湖工业公司主要生产合成氨、尿素、PVC、钾碱、甲醇等,其中合成氨装置的脱碳工序*为复杂。由于此工序联锁较多所以要求仪表测量精度要高,热钾碱溶液导电率较高,所以选用一体型管道污水流量计*为合适,它主要是通过液体的导电性来准确测量热钾碱溶液(贫液及半贫液)的循环量,使之按一定的比率充分吸收工艺气中的COZ气,以保证后工序合成气的净化度,不使甲烷化炉温度超标而造成停车。希望通过实践对一体型管道污水流量计作出比较具体的介绍。
1、一体型管道污水流量计介绍
一体型管道污水流量计是测速式流量计,适用于具有导电性液体体积流量的测量。流量传感器测量通道内壁涂有防腐层,在测量通道内无任何固定或可动的节流部件,对流体无压力损失,其输出特性与被测液体的密度、勃度、流动状态无关,可用于测量有腐蚀性或带有固体微粒的流体及浆状物料。但是,它不能测量气体、蒸汽和非导电性液体。
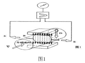
2、一体型管道污水流量计的工作原理
磁力线方向运动时,导体受磁场感应产生感应电势E(即发电机工作原理)。传感器测量通道内的磁场是由安装在测量通道外壳壁上的励磁线圈在励磁电流作用下产生的交变磁场。检测元件为两根电极棒,分别安装在传感器壳体两侧的棒孔部位,且两极棒各有一端头在传感器通道内壁处,与通道内流体保持良好的电气接触。
当导电流体经传感器通道时,导电流体流向垂直于磁力线方向,流体流动时切割磁力线,在导电流体中有感应电势E产生,感应电势与流速之间的关系式为:E=KBvD
式中:E一KBD
式中:E一感应电势,V;
K一系数;
B一交变矩形波磁感应强度,T;
D一传感器通道的内径,M;
**体在通道内的平均流速,m/s
由式可知,感应电势与流体的平均流速成正比关系,所以说一体型管道污水流量计属测速式流量计。流体所感应的电势由两支与液体接触的电极检出,并传送至转换器,由转换器完成信号放大,并转换成标准的输出信号输送至显示器和累计单元。
一体型管道污水流量计的特性与被测介质的物性和压力、温度无关,一体型管道污水流量计经出厂前的校准后,在测量导电性介质的流量时,所测得的体积流量示值无需进行修正。
信号转换器的输出是以频率输出,转换器的转换标准是:无论传感器的口径及测量范围,其输出为标准频率,即lms/流速转换为1000脉冲/S,当被测液体流速为2.304m/S时,其输出频率为2.304kHz(l)。

3、本项目一体型管道污水流量计《IM下25)机构及使用方法的介绍
一体型管道污水流量计是由流量传感器和转换器(也叫显示器)两大部分组成。测量管上下装有激磁线圈,通激磁电流后产生磁场穿过测量管,一对电极装在测量管内壁与液体相接触,引出感应电势,送到转换器。激磁电流则由转换器提供。如图2所示:

3.1拨动开关设置
在改变IMT25的开关设定之前必须切断其电源。对于采用内部电源的情况(回路由变送器自身供电),按下图3中显示为黑色的那些开关的低端。对于外部电源(回路电源在变送器的外部),则按下图3中显示为白色的那些开关的低端。
3.2写保护开关
位于与变送器盖板相连的接线用印刷线路板上的作为写保护使用的DIP开关用来防止意外地改变变送器组态或使累加器复位。这一功能通常只在受到监控的物料输送操作中使用,或者用在因任何理由希望确保系统组态及累加值不被改变的场合中。因此,这些开关通常被置于“不起用”的位置(也是出厂前设定的缺省值)。如果将开关转到“起用”的位置,便能起到上述的保护作用。
3.3与数字式偷出电路的连接
变送器的数字输出信号引线可以连接到I/A系列的系统中。输出信号是加载在4一20毫安(回路)线上的。这个程序只涉及变送器与系统之间的接线。现场接线的*大长度为600米(2000英尺)。信号的输出功率是由FBM输入模块提供的。
导管走向向下避免水分积聚在接线盒中。任何不用的导管开口都应加以闷塞。
HART通信装置或装载在PC机上的组态器可以连接在变送器现场接线端到外部负载之间的任何位置,或连接到另外配供的1/0孔口上。如图3所示:

4、一体型管道污水流量计的安装要求
(l)传感器的使用条件时流经测量通道内的液体必须处在充满状况,传感器安装位置应优选在垂直管道上,且垂直管道内液体必须是自下而上流动,传感器不可安装在艺管路*高水平管段上,管段*高处易聚集气体,在水平或倾斜的工艺管路上安装,传感器上游侧直管段不可小于SD,下游直管段不小于ZD。传感器安装位置应远离强磁场,安装位置附近应无动力设备或磁力启动器等。
(2)传感器与工艺管道之间采用法兰连接,紧固螺栓时不可拧得过紧,否则会损坏传感器法兰口聚四氟乙烯涂层。建议用力矩扳手紧固螺母,其*大力矩参照表。水平或倾斜工艺管道上安装。其两支检测电极应处于水平位置,不允许处在工艺管道的正上方或正下方的位置,口径大于300mm的传感器应专设支架支撑。
(3)传感器对外界电磁干扰比较敏感,为了消除电磁干扰和使用安全,应将传感器外壳、被测介质和工艺管道三者连成等电位,并要求独立接地,接地电阻小于10。因外界存在的电磁场感应电流、绝缘故障漏电流和危险区域采用的电位平衡器所产生的电位平衡电流会沿着金属管道和工艺介质流动,这些电流在传感器的电极上会产生干扰电压,其电压等级远超过电极所测得的感应电势,因此,要求将传感器外壳、被测介质和工艺管道三者必须连成等电位,并接地,以消除外界千扰。
(4)一体型管道污水流量计供货通常根据工艺管道材质配置接地环,接地环材质为耐腐蚀不绣钢,接地环长约30mm的圆管管颈。工艺管道为了防腐常采用塑料管或在金属管道内涂绝缘防腐漆或衬里,而一体型管道污水流量计常常应用在防腐蚀较强的场合。对于绝缘材质管道或管道内涂绝缘层的管道,仅用接地线将法兰连接起来的办法是不可能实现等电位接地的,应采取特殊措施,在传感器两端法兰口处各装一只接地环,把接地环圆管颈插入法兰口内,使接地环与管内液体有良好的电气接触,再用接地线将法兰与接地环连接起来。接地连接线应选用16mmZ多股铜芯线。
(5)信号转换器安装位置应尽可能靠近传感器安装,有利于减小外部电磁干扰对信号传输线的影响和信号强度的损失。通常使用制造厂提供的sm长度的屏蔽信号电缆将转换器与传感器连接起来。厂家提供的屏蔽信号电缆有两种型号,一种为单层屏蔽信号电缆。另一种为三层屏蔽信号电缆。两种型号电缆的接地方式是有区别的,应根据道货的电缆决定屏蔽接地方式。
(6)如果信号电缆为单层屏蔽,要求外屏蔽层为一端接地,接地端接于传感器端子1,三芯电缆中的两根线为信号线,分别接于2、3端子,另一根芯线作为内屏蔽线,内屏蔽应两端接地,屏蔽线的两端应分别接在传感器和转换器的1端子上,如图所示。如果到货电缆为三层屏蔽信号电缆,则按图(b)所示接线,*外层屏蔽层(铁质)为一端接地,接于传感器1端子,*二层为内屏蔽层(铜质),屏蔽层两端分别接于传感器和转换器的1端子,两根芯线屏蔽层为一端接地,分别接于转换器20、30端子。
(7)另外,在转换器于传感器之间还有一根供电电缆,是转换器给传感器激励线圈提供交变脉动电流用的专用电缆。为避免直流磁场对导电液体产生极化现象,给测量精确度带来影响,一体型管道污水流量计通常采用交变电流励磁,产生交变磁场。
5、结束语
化工装置的计量体系需要准确的流量计,以保证各种溶液的配比平衡以及后工序安全稳定运行。一体型管道污水流量计的变送器结构简单,没有可动部件,也没有任何阻碍流体流动的节流部件,所以当流体通过时不会引起任何附加的压力损失,同时它不会引起诸如磨损,堵塞等问题,特别适用于测量带有固体颗粒的矿浆,污水等液固两相流体,以及各种粘性较大的浆液等,同样,由于它结构上无运动部件,故可通过附上耐腐蚀绝缘衬里和选择耐腐材料制成电极,起到很好的耐腐蚀性能,使之可用于各种腐蚀性介质的测量中。因此一体型管道污水流量计对于热钾碱溶液流量的测量来说是一种比较理想的计量仪表,可以在化工以及其它行业中广泛推广。
一体型管道污水流量计在热钾碱溶液测量中的安装与使用
一体式污水流量计价格在污水处理站的应用
一体化污水流量计在自动配料系统中的应用与试验结果分析
一体型污水流量计价格在泵送改造项目和净水厂的安装选型
关于一体化污水流量计在不锈钢酸性废水处理中的应用
影响一体式污水流量计测量精度和选型要求
一体化污水流量计,dn350污水流量计厂家
一体化污水流量计,污水处理流量计
一体式污水流量计调试期与运行期常见故障的分析处理
搅拌叶片与示值脉动对一体污水流量计测量的影响与危害
一体化污水流量计,腐蚀性污水流量计
一体化污水流量计
一体式污水流量计
一体污水流量计
一体式污水流量计,一体污水流量计
一体污水流量计,dn100污水流量计
一体化污水流量计,电磁污水流量计
一体式污水流量计,油田污水流量计
一体化污水流量计,dn400污水流量计
一体化污水管道流量计在锅炉给水调节上应用中缺点和优势
一体化污水管道流量计口径与量程流速之间的匹配关系
浅析污水流量计一体式在选型时应关注的参数及工况条件
一体式污水流量计选型要考虑的因素及影响测量精度的因素
一体化污水流量计在测量不同腐蚀介质时产生信号波动的原因分析
有效提高一体式污水管道流量计测量准确性的工程实施方法
1、一体型管道污水流量计介绍
一体型管道污水流量计是测速式流量计,适用于具有导电性液体体积流量的测量。流量传感器测量通道内壁涂有防腐层,在测量通道内无任何固定或可动的节流部件,对流体无压力损失,其输出特性与被测液体的密度、勃度、流动状态无关,可用于测量有腐蚀性或带有固体微粒的流体及浆状物料。但是,它不能测量气体、蒸汽和非导电性液体。
2、一体型管道污水流量计的工作原理
磁力线方向运动时,导体受磁场感应产生感应电势E(即发电机工作原理)。传感器测量通道内的磁场是由安装在测量通道外壳壁上的励磁线圈在励磁电流作用下产生的交变磁场。检测元件为两根电极棒,分别安装在传感器壳体两侧的棒孔部位,且两极棒各有一端头在传感器通道内壁处,与通道内流体保持良好的电气接触。
当导电流体经传感器通道时,导电流体流向垂直于磁力线方向,流体流动时切割磁力线,在导电流体中有感应电势E产生,感应电势与流速之间的关系式为:E=KBvD
式中:E一KBD
式中:E一感应电势,V;
K一系数;
B一交变矩形波磁感应强度,T;
D一传感器通道的内径,M;
**体在通道内的平均流速,m/s
由式可知,感应电势与流体的平均流速成正比关系,所以说一体型管道污水流量计属测速式流量计。流体所感应的电势由两支与液体接触的电极检出,并传送至转换器,由转换器完成信号放大,并转换成标准的输出信号输送至显示器和累计单元。
一体型管道污水流量计的特性与被测介质的物性和压力、温度无关,一体型管道污水流量计经出厂前的校准后,在测量导电性介质的流量时,所测得的体积流量示值无需进行修正。
信号转换器的输出是以频率输出,转换器的转换标准是:无论传感器的口径及测量范围,其输出为标准频率,即lms/流速转换为1000脉冲/S,当被测液体流速为2.304m/S时,其输出频率为2.304kHz(l)。

3、本项目一体型管道污水流量计《IM下25)机构及使用方法的介绍
一体型管道污水流量计是由流量传感器和转换器(也叫显示器)两大部分组成。测量管上下装有激磁线圈,通激磁电流后产生磁场穿过测量管,一对电极装在测量管内壁与液体相接触,引出感应电势,送到转换器。激磁电流则由转换器提供。如图2所示:

3.1拨动开关设置
在改变IMT25的开关设定之前必须切断其电源。对于采用内部电源的情况(回路由变送器自身供电),按下图3中显示为黑色的那些开关的低端。对于外部电源(回路电源在变送器的外部),则按下图3中显示为白色的那些开关的低端。
3.2写保护开关
位于与变送器盖板相连的接线用印刷线路板上的作为写保护使用的DIP开关用来防止意外地改变变送器组态或使累加器复位。这一功能通常只在受到监控的物料输送操作中使用,或者用在因任何理由希望确保系统组态及累加值不被改变的场合中。因此,这些开关通常被置于“不起用”的位置(也是出厂前设定的缺省值)。如果将开关转到“起用”的位置,便能起到上述的保护作用。
3.3与数字式偷出电路的连接
变送器的数字输出信号引线可以连接到I/A系列的系统中。输出信号是加载在4一20毫安(回路)线上的。这个程序只涉及变送器与系统之间的接线。现场接线的*大长度为600米(2000英尺)。信号的输出功率是由FBM输入模块提供的。
导管走向向下避免水分积聚在接线盒中。任何不用的导管开口都应加以闷塞。
HART通信装置或装载在PC机上的组态器可以连接在变送器现场接线端到外部负载之间的任何位置,或连接到另外配供的1/0孔口上。如图3所示:

4、一体型管道污水流量计的安装要求
(l)传感器的使用条件时流经测量通道内的液体必须处在充满状况,传感器安装位置应优选在垂直管道上,且垂直管道内液体必须是自下而上流动,传感器不可安装在艺管路*高水平管段上,管段*高处易聚集气体,在水平或倾斜的工艺管路上安装,传感器上游侧直管段不可小于SD,下游直管段不小于ZD。传感器安装位置应远离强磁场,安装位置附近应无动力设备或磁力启动器等。
(2)传感器与工艺管道之间采用法兰连接,紧固螺栓时不可拧得过紧,否则会损坏传感器法兰口聚四氟乙烯涂层。建议用力矩扳手紧固螺母,其*大力矩参照表。水平或倾斜工艺管道上安装。其两支检测电极应处于水平位置,不允许处在工艺管道的正上方或正下方的位置,口径大于300mm的传感器应专设支架支撑。
(3)传感器对外界电磁干扰比较敏感,为了消除电磁干扰和使用安全,应将传感器外壳、被测介质和工艺管道三者连成等电位,并要求独立接地,接地电阻小于10。因外界存在的电磁场感应电流、绝缘故障漏电流和危险区域采用的电位平衡器所产生的电位平衡电流会沿着金属管道和工艺介质流动,这些电流在传感器的电极上会产生干扰电压,其电压等级远超过电极所测得的感应电势,因此,要求将传感器外壳、被测介质和工艺管道三者必须连成等电位,并接地,以消除外界千扰。
(4)一体型管道污水流量计供货通常根据工艺管道材质配置接地环,接地环材质为耐腐蚀不绣钢,接地环长约30mm的圆管管颈。工艺管道为了防腐常采用塑料管或在金属管道内涂绝缘防腐漆或衬里,而一体型管道污水流量计常常应用在防腐蚀较强的场合。对于绝缘材质管道或管道内涂绝缘层的管道,仅用接地线将法兰连接起来的办法是不可能实现等电位接地的,应采取特殊措施,在传感器两端法兰口处各装一只接地环,把接地环圆管颈插入法兰口内,使接地环与管内液体有良好的电气接触,再用接地线将法兰与接地环连接起来。接地连接线应选用16mmZ多股铜芯线。
(5)信号转换器安装位置应尽可能靠近传感器安装,有利于减小外部电磁干扰对信号传输线的影响和信号强度的损失。通常使用制造厂提供的sm长度的屏蔽信号电缆将转换器与传感器连接起来。厂家提供的屏蔽信号电缆有两种型号,一种为单层屏蔽信号电缆。另一种为三层屏蔽信号电缆。两种型号电缆的接地方式是有区别的,应根据道货的电缆决定屏蔽接地方式。
(6)如果信号电缆为单层屏蔽,要求外屏蔽层为一端接地,接地端接于传感器端子1,三芯电缆中的两根线为信号线,分别接于2、3端子,另一根芯线作为内屏蔽线,内屏蔽应两端接地,屏蔽线的两端应分别接在传感器和转换器的1端子上,如图所示。如果到货电缆为三层屏蔽信号电缆,则按图(b)所示接线,*外层屏蔽层(铁质)为一端接地,接于传感器1端子,*二层为内屏蔽层(铜质),屏蔽层两端分别接于传感器和转换器的1端子,两根芯线屏蔽层为一端接地,分别接于转换器20、30端子。
(7)另外,在转换器于传感器之间还有一根供电电缆,是转换器给传感器激励线圈提供交变脉动电流用的专用电缆。为避免直流磁场对导电液体产生极化现象,给测量精确度带来影响,一体型管道污水流量计通常采用交变电流励磁,产生交变磁场。
5、结束语
化工装置的计量体系需要准确的流量计,以保证各种溶液的配比平衡以及后工序安全稳定运行。一体型管道污水流量计的变送器结构简单,没有可动部件,也没有任何阻碍流体流动的节流部件,所以当流体通过时不会引起任何附加的压力损失,同时它不会引起诸如磨损,堵塞等问题,特别适用于测量带有固体颗粒的矿浆,污水等液固两相流体,以及各种粘性较大的浆液等,同样,由于它结构上无运动部件,故可通过附上耐腐蚀绝缘衬里和选择耐腐材料制成电极,起到很好的耐腐蚀性能,使之可用于各种腐蚀性介质的测量中。因此一体型管道污水流量计对于热钾碱溶液流量的测量来说是一种比较理想的计量仪表,可以在化工以及其它行业中广泛推广。
上一篇:超声波流量计和dn450污水流量计选型在不同的环境下各有优势


